Phoenix Contact — . Децентрализ. устройство ввода-вывода - FLX ASI DIO 2/2 M12-2A - 2773432


Наличие
Цена
Для уточнения цены нам необходимо связаться с производителем. Отправляйте запрос по почте, через корзину сайта или через форму заявки.
Ответим на Ваш запрос сегодня в течение дня.
Доставка
- транспортной компанией на Ваш выбор
- самовывоз из офиса в Санкт-Петербурге
- бесплатная доставка до терминала “Деловые Линии” в Санкт-Петербурге
Описание изделия
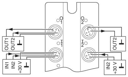
Цифровые модули ввода-вывода Fieldline AS-Interface M12 в корпусах со степенью защиты IP67 обеспечивают подключение цифровых датчиков и исполнительных элементов к AS-i с помощью штекеров M12 с системой SPEEDCON. Подсоединение модуля к AS-i производится с помощью плоского кабеля.
Окружающие условия
Температура окружающей среды (при эксплуатации) -25 °C ... 70 °C Температура окружающей среды (хранение/транспорт) -25 °C ... 85 °C Степень защиты IP65/IP67 Интерфейсы
Система на базе полевой шины AS-i Наименование AS-Interface Тип подключения С помощью плоского кабеля Обозначение, место соединения AS-i Скорость передачи данных 167 kBit/s Полюсов 4 Интерфейс AS
Тип ведом. устройства Ведомое устройство A/B AS-i спецификации 2.1 IO-Code (код ввода-вывода) B ID1-код 7 ID2-код 2 Идентификационный код (шестнадцатеричн.) A Код ID (десят.) 10 Профиль AS-i S-B.A.2 Требования к ведущему устройству >= 2.0 Цифровые входы
Наименование, вход Цифровые входы Тип подключения Штекерный соединитель M12 Способ подключения 2-, 3-проводной кабель Количество входов 2 Входная характеристика МЭК 61131-2 тип 2 Цифровые выходы
Наименование, выход Цифровые выходы Тип подключения Штекерный соединитель M12 Способ подключения 2-проводная схема Количество выходов 2 Максимальный выходной ток на 1 канал 2 А Максимальный выходной ток на 1 модуль / клемму 4 А Общие сведения
Масса 195 г Тип монтажа Настенный монтаж Степень защиты III, IEC 61140, EN 61140, VDE 0140-1
О компании Phoenix Contact
PHOENIX CONTACT GmbH & Co. KG, производитель электротехнического оборудования для промышленных отраслей. Компания широко известна клеммной продукцией.
Головной офис Phoenix Contact расположен в Германии — городе Бломберг (Blomberg), Северный Рейн-Вестфалия. В группу компаний Phoenix Contact Deutschland входят двенадцать предприятий. Девять принадлежащих компании производственных предприятий за рубежом. Почти 50 сбытовых дочерних компаний и более 30 представительств в разных странах. Phoenix Contact имеет представительства более чем в 50 странах мира и насчитывает более 14000 сотрудников по всему миру.
Производственные площадки в Германии: Бломберг, Бад-Пюрмонт, Люденшайд, Херренберг, Фильдерштадт.
Другие производственные площадки: Гаррисберг (США), Наньцзин (Китай), Нью-Дели (Индия), Нови Томисл (Польша), Василико (Греция), Сан-Паулу (Бразилия), Бурза (Турция), Эльвдален (Швеция), ... Читать далее...






Ответ от производителя может занять до 5 дней и более.

